MYBALL迈博

MYBALL迈博
产品中心
电源 IC
可控硅过零检测驱动

可控硅过零检测驱动

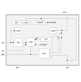
该产品是一款内置过零检测功能的可控硅驱动控制芯片。内置过温保护、过压箝位保护等电路。芯片采用负电源供电,具有高的检测灵敏度,从输入电压零点开始到芯片输出信号触发可控硅工作,基本无延迟。芯片可以同 MCU 和可控硅联动使用,无需外部放大电路就能更好的驱动大触发可控硅工作。
CloseOpen Filters

本网站使用cookie。继续浏览本网站,即表示您同意我们使用cookies。